MS-MI-1-1扬尘监测仪
0赞

产品概述:
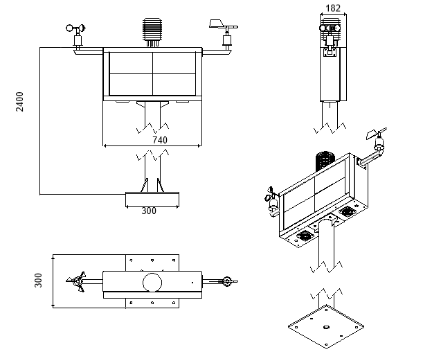
MS-MI-1-1扬尘监测仪是MS-MI-1系列下的一款全天候户外扬尘(PM10、PM2.5)、噪声监测设备,另可扩展风速、风向、温度、湿度等多个环境监测参数。LED屏和监测设备一体化设计,可以实时显示监测值,方便现场及时查看监测数据,污染产生时及时控制污染排放。监测数据通过无线方式传输到监控云平台,为扬尘、噪声敏感区域的污染监测和控制提供数据支持。另外本设备外壳采用高强度钣金喷塑处理,坚固、防雨、防尘、防锈,综合防护等级达到IP54;产品通过市、省级以上检定机构的权威检测并获得报告及省级颁布的CPA资格证书《中国人民共和国 计量器具型式批准证书》;是建筑工地、道路、堆场、广场、码头等场合扬尘监测和控制的理想产品。
功能特点:
◆传感器带自动加热除湿功能,使采集腔内气体温湿度相对稳定,来获得更加准确的测量值;
◆采用GPRS模块无线传输监测数据,同时支持断网续传功能,保证监测数据的完整性;
◆具备本地数据存储功能,可导出存在设备内的原始数据,方便后期数据的分析和问题的查找,
◆主控单元采用符合国家污染源在线自动监控(监测)数据标准的通讯协议,并可根据各地方实际应用的通讯协议进行相应的修改,具备很高的兼容性。
◆设备采用模块化、屏机一体化设计,方便现场安装与维护,使设备能快速部署,设备各模块故障查找与维修更换也更为方便。
◆主控单元集成了网络通讯功能,可配置为多平台在线,同时预留外接端口,使设备联网更方便快捷!同时具备同其它设备无缝对接的能力。
◆设备具有报警输出功能,在雾炮、喷淋等降尘设备的支持下,可以实现扬尘超标自动降尘处理的功能。
参数指标:
参数指标 | |||
扬尘参数 | PM10/PM2.5同测 | 传声器 | 电容式麦克风 |
扬尘测量量程 | 2mg/m³、10mg/m³ | 数据存储周期 | 1分钟 |
扬尘测量原理 | 45度光散射式 | LED屏类型 | P10户外高亮 |
示值误差 | ±10%左右 | LED屏点阵 | 64*32(像素) |
重复性 | 10% | 传输方式 | GPRS,可选配3G/4G |
扬尘分辨率 | 0.001mg/m³ | 设备功耗 | 30W |
扬尘采样头 | 吸入式采样口 | 设备尺寸 | 740mm*400mm*182mm |
噪声测量量程 | 30~130dB | 设备重量 | 22kg |
频率范围 | 31.5Hz~8kHz | 工作温度 | -20℃~65℃ |
计权方式 | A计权 | 安装方式 | 立杆安装 |
噪声分辨率 | 0.1dB | 安装高度 | 2.5m~3.5m |
